Skip to main content

NOTICE: Due to a lapse in annual appropriations, most of this website is not being updated. Learn more.

Form submissions will still be accepted but will not receive responses at this time. Sections of this site for programs using non-appropriated funds (such as NVLAP) or those that are excepted from the shutdown (such as CHIPS and NVD) will continue to be updated.

U.S. flag

An official website of the United States government

Official websites use .gov
A .gov website belongs to an official government organization in the United States.

Secure .gov websites use HTTPS
A lock ( ) or https:// means you’ve safely connected to the .gov website. Share sensitive information only on official, secure websites.

Patent of the Month: June 2020

Reticulated Resonator, Process for Making and Use of Same, Patent Number 10,444,431

Technology Description

Mechanical resonators are widely used in wireless receivers, bio sensors, and timing and frequency control.  There is considerable interest in industry and academia for ultrahigh precision sensing and fundamental science.  A mechanical resonator, with the following advantages, is desirable for both industrial and academic applications:

  1. High quality factor (Q) – frequency products
  2. High stability, i.e. consistent performance over time
  3. Small Chip-Based Package
  4. High tensile stress silicon nitride (SiN) vibrating membrane
  5. A periodic support structure provides acoustic isolation
  6. Integration compatible with electrical and optical circuits

Our state-of-the-art SiN oscillator has these advantages.  It has a Q – frequency product that is superior to high-stability quartz oscillators.  Its performance is robust to aging and packaging.  Specifically, the invented system has two components:

  1. A high tensile stress resonator
  2. A periodic supporting substrate that forms an acoustic metamaterial, i.e., phononic bandgap
  3. Packaged in one microfabricated chip.

These components make a big impact for replacing quartz crystals.  More than two billion quartz oscillators are manufactured annually.   Most are small devices built for wristwatches, clocks, and electronic circuits, but also used for test and measurement equipment, such as counters, signal generators, and oscilloscopes.  Atomic oscillators are used for applications that require better long-term stability and accuracy. Our acoustically protected SiN resonator is also an enabling element for interfacing optical-to-electrical signal transduction especially in new, emerging “quantum technologies” of the future.

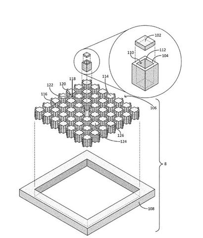
A line drawing for Reticulated Resonator, Process for Making and Use of Same

Inventors

Raymond W. Simmonds
Katarina Cicak
Cindy A. Regal
Pen-Li Yu
Yeghishe Tsaturyan
Thomas P. Purdy
Nir S. Kampel

Technology Types

Calibration
Electronics

Manufacturing
Precision Measurements
Quantum-Based Sensing
Quantum Information

Time and Frequency

Benefits

High quality factor (Q) – frequency products; high stability, i.e. consistent performance over time; small chip-based package; high tensile stress SiN vibrating membrane; a periodic support structure provides acoustic isolation; and integration compatible with electrical and optical circuits.

Click here for a PowerPoint slide depicting the patent of the month.

Licensing Inquiries may be sent to TPO [at] NIST.GOV

View other patents of the month here.

Created May 26, 2020, Updated August 23, 2023
Was this page helpful?