Skip to main content

NOTICE: Due to a lapse in annual appropriations, most of this website is not being updated. Learn more.

Form submissions will still be accepted but will not receive responses at this time. Sections of this site for programs using non-appropriated funds (such as NVLAP) or those that are excepted from the shutdown (such as CHIPS and NVD) will continue to be updated.

U.S. flag

An official website of the United States government

Official websites use .gov
A .gov website belongs to an official government organization in the United States.

Secure .gov websites use HTTPS
A lock ( ) or https:// means you’ve safely connected to the .gov website. Share sensitive information only on official, secure websites.

Mueller Matrix Ellipsometer

Published Patent Application Number: 2024/0011894

Problem

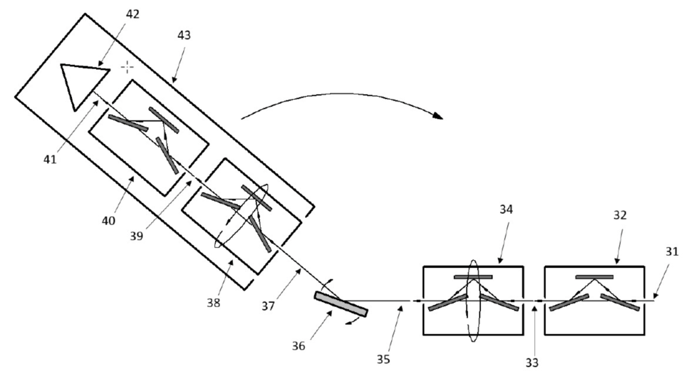
One embodiment of the invention.

In the past, ellipsometers have been constructed for operation in the terahertz, infrared, visible, and ultraviolet spectral regions, with a minimum wavelength of about 140 nm. Extending such a device into the VUV and EUV regions of the electromagnetic spectrum has been impeded by the fact that nearly all materials are opaque in these regions. Therefore, these devices need to rely upon reflection from surfaces instead of transmission through materials.

Invention

A multi-mirror polarization state generator is combined with a multi-mirror polarization state analyzer and a detector to realize a Mueller matrix ellipsometer. It is found that grazing incidence reflection from a number of materials provides sufficient optical 
phase retardance to make this possible.

Potential Commercial Applications

Having this technology available would assist US chip manufacturers and US semiconductor tool manufacturers in characterizing materials and nanostructures. Optical critical dimension metrology or scatterometry would benefit from being able to operate at shorter wavelengths to achieve higher accuracy and precision. 

Competitive Advantage

Spectroscopic ellipsometry meets a barrier for wavelengths shorter than about 150 nm. The technology described in this invention disclosure should allow this technique to be extended to at least 50 nm.

Created February 15, 2024, Updated September 16, 2025
Was this page helpful?